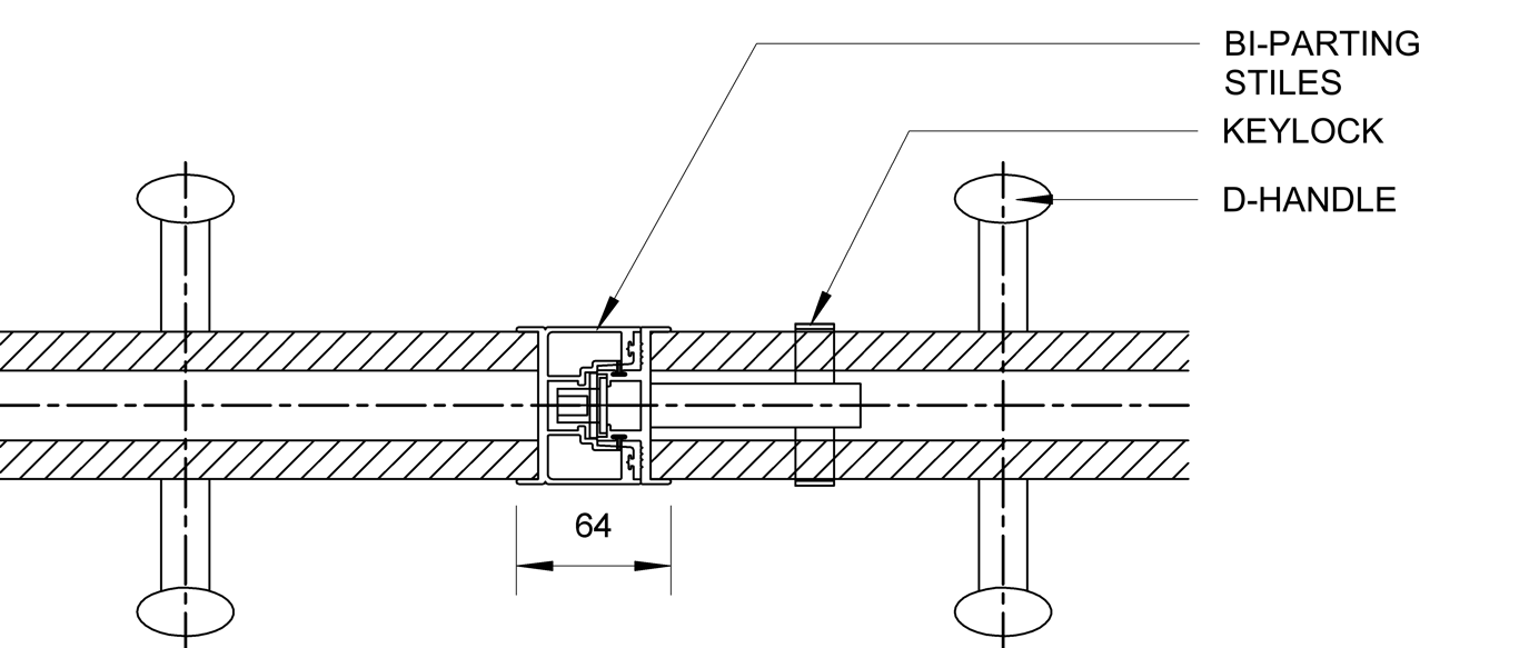
LD-OPR-16 - LOTUS OPERABLE WALL - PANELS DETAIL - SIDE STACK

 Image of LD-OPR-16 - LOTUS OPERABLE WALL - PANELS DETAIL - SIDE STACK

Detail Download. 2D Details / Drafting Views accompany the 3D content and allow for detailed technical construction documentation.